自助小設備租賃

popcornya.com

18:00~22:00 

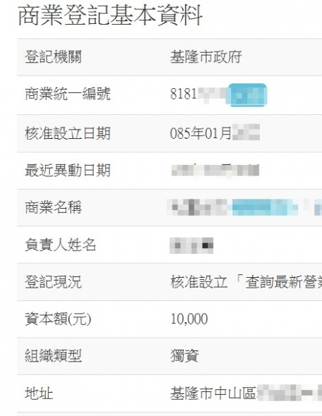
小店原在基隆, 民國85年開業近30年

原本主要販售五金電器相關

因有租借需求, 不想買了只用一次, 或先租借試用

從一個品項開始租借, 也多了些其他設備

 

基隆小店114年9月退休

租賃業務由有興趣的專人負責, 設備都放在中和

現在多為小活動自助使用的小設備器材租賃

 

我們沒有預算買google廣告, 大多是客戶介紹客戶 
為了將資訊清楚表達, 開設網頁把資訊寫清楚
讓您不用來電, 就能清楚了解相關資訊

 

租賃的設備為小眾需求, 無隨時等候來借還 

故網頁不直接公佈地址, 請先確認租借細節

 

新北市中和區(地址於預定後提供)

由於我們不郵寄貴重的設備器材(需當面確認測試點收)

原本就小眾的市場, 縮小到大台北地區

小眾需求, 無法隨時接待, 無法隨時待命

未接來電, 可能回撥沒接, 或總機不知道
外出時, 室外背景噪音大, 也聽不清楚

 

主要以通訊軟體連繫為主, 電話為輔

方便認人, 留資料, 回顧記錄, 避免誤會
也不用每次來電都要說一次你是誰, 哪天預定了什麼設備

 

依據多年經驗值
直接打電話的超過8成, 內容還沒看, 問的全是有寫的

依據多年經驗值

詢問.詢問.再詢問.確認.留資料.約取貨.約歸還.改時間...

以上打電話需要N通, 雙方沒接到再無限回撥

所以我們主要用LINE留言

 

無業績壓力, 不會追著您問

故未接來電, 不一定會回電

有些來電非詢問租借相關, 有些只是企劃中

依據多年經驗, 要再詢問會LINE 或 Mail 留訊息

 

不忙時, 都會儘快回覆訊息
很忙時, 也會撥空回覆訊息
約定取貨及歸還時段, 會留守, 會顧手機

 

for 大台北的自助使用小設備, 小眾需求, 無專職客服
~~  感 謝 您 的 理 解 與 配 合  ~~

手機可直接點圖片, 或搜尋電話(非ID)

(距離 捷運南勢角站 1.5公里)

(無其他取貨點)

                                              公  告

因疫情影響, 本人到朋友公司幫忙, 租賃業務改為兼職 (可能到年底)

▶服務時間改為平日晚上7:00~10:00  [假日AM8:00~PM10:00不變]

    也就是:平日白天無法借還, 急取請繞道, 以免擔誤

                     [平日白天無法分心接聽電話, LINEMAIL 會撥空回覆]
目前只接"不會取消或延期"的預定, 颱風及豪雨特報除外
    也就是:無法確定會不會取消或延期的, 暫時不接. 

                     [預定後, 可以不取貨, 直接將租金捐助公益or弱勢團體] 
現階段時間及心力有限, 不適合可儘早繞道, 節省您寶貴時間, 謝謝!

(包含假日)

名稱 [爆米花] 

好友數有上限, 未確定前不會加

非好友, LINE無法通話, 可先文字提問

0928138481

(新校名 : 臺灣科大 華夏校區)

  華夏科技大學

彈性上班時間, 若無約取約還, 不一定會在.

未接來電, 如需回覆, 請文字洽詢, 

方便傳圖, 留資料, 回顧記錄.

9:00~18:00 彈性上班 (不一定會在)

立刻要取貨, 建議繞道, 以免擔誤

晚上or隔日取貨, 可先✏️留言討論

🔷 春節假期愉快 🔷 恭喜發財 🔷 大吉大利 🔷 萬事如意 🔷

春節期間, 白天到處走春, 注意手機的機會不一定, 先隱藏電話, 急件建議繞道, 以免擔誤

LINE會撥空回訊息, 最慢晚上會回覆

可搜尋電話

✏️文字回覆時間

09:00~18:00 回覆時快時慢

18:00~22:00 幾乎很快回覆

22:00~23:00 不一定會回覆

23:00後~    隔日回覆

洽詢檔期, 請告知 借還日期 (取貨日&歸還日) 

有檔期要如何預定? 如何約白天? 有發票嗎? 

6/28(六) 整日上班, 可臨時約

9:00~22:00 

請看 租借須知

09:00~18:00 

(包含假日)